IOT Based Toll Booth Manager System

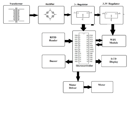
Managing multiple toll booths is a very complicated task. We here propose a smart card based toll booth system that is monitored over IOT. The Internet server maintains all the data of user accounts and also their balance. All vehicle owners would possess an rfid based card that stores their account number. Our system at toll booths will monitor the cards scanned when a car arrives at the toll booth. The system now connects to the online server to check if the card is valid and if valid what is the balance. If user balance is sufficient, the user balance is deducted online and web system sends signal back to the card scanner system that the user has been billed. On receiving this signal the system operates a motor to open the toll gate for that car. The system is controlled by a microcontroller to achieve this purpose. The microcontroller uses wifi connection to connect to the internet through which system interacts with web server to perform the online verification process. Also system allows to store data of all the vehicles passed at particular time intervals for later reference and surveillance. This system thus automates the entire toll booth collection and monitoring process with ease using RFid plus IOT based system.

  • Hardware Specifications
  •  
  • Atmega Microcontroller
  •  
  • RFID Module & Cards
  •  
  • ESP8266 Wifi Module
  •  
  • LCD Display
  •  
  • Crystal Oscillator
  •  
  • Resistors
  •  
  • Capacitors
  •  
  • Transistors
  •  
  • Cables and Connectors
  •  
  • Diodes
  •  
  • PCB and Breadboards
  •  
  • LED
  •  
  • Transformer/Adapter
  •  
  • Push Buttons
  •  
  • Switch
  •  
  • IC
  •  
  • IC Sockets
  •  
  • Software Specifications
  •  
  • Arduino Compiler
  •  
  • MC Programming Language: C

Block Diagram